|
Памятка по хранению, эксплуатации и применению волнистых асбестоцементных листов |
|
ВНИМАНИЕ!
При хранении стоп асбестоцементных листов на открытой площадке необходимо исключить попадание влаги между листами и прямых солнечных лучей.
Не допускается эксплуатация асбестоцементных листов в вентиляционных шахтах; в условиях прямого контакта с агрессивными веществами.
-
При транспортировке и проведении погрузочно-разгрузочных работ не допускается: удары по листам, их сдвиг в стопе, сбрасывание с высоты и какие-либо другие механические нагрузки, которые могут привести их к повреждению.
-
Погрузку и разгрузку необходимо производить с помощью предназначенных для этих целей траверс. Грузозахватные устройства должны иметь приспособления (прокладки), исключающие возможность повреждения изделий.
-
Стопы непакетированных листов должны храниться на поддонах (подкладках) в горизонтальном положении на ровной твердой поверхности под навесом или в закрытых помещениях. Стопы не окрашенных листов вместе с поддонами (подкладками) могут быть установлены друг на друга в штабели высотой до 2,5 м.
-
Основанием под кровлей из волнистых листов является обрешетка из деревянных брусков сечением не менее 50х50 мм, уложенных по стропилам или прогонам с шагом не более 750 мм. При повышенных требованиях против задувания снега в чердачное пространство, по стропилам следует выполнить сплошной дощатый настил из обрезных нестроганных досок шириной от 100 до 200 мм и толщиной от 25-32 мм. По настилу следует уложить слой рулонного водоизоляционного материала. Доски (бруски) контробрешётки сечением 25х100 мм укладывают поверх рулонного материала над стропилами. Обрешётку следует укладывать по брускам контробрешётки. Все деревянные элементы основания следует выполнять из древесины не ниже второго сорта, предварительно обработанной против гниения и покрытой огнезащитными составами. Каждый лист должен опираться не менее чем на три опоры.
-
Основание под кровлю из волнистых листов должно быть плоским на каждом участке кровли. Отклонение уклона кровли должно быть не более 0,05 от величины уклона, заданного в проектной документации. Допускаются местные неровности основания с величиной отклонения от плоскости на участке 1 м: вдоль ската - не более 5 мм; поперек ската - не более 10 мм.
-
Волнистые листы следует укладывать рядами по предварительной разметке от карниза к коньку. Направление укладки листов в ряду должно быть против направления господствующих ветров. Для волнистых асбестоцементных листов величина продольной нахлёстки должна быть не менее 150 и не более 300 мм.10 мм.
Нахлёстка поперек ската должна быть не менее чем на одну волну. При укладке листов без смещения в местах стыка четырех листов следует производить обрезку углов двух средних листов с зазором между стыкуемыми углами листов 8-
-
Волнистые листы следует крепить к обрешётке шиферными гвоздями или шурупами с неопреновой (резиновой) прокладкой, шайбами, вырезанными из рубероида или иных гидроизоляционных материалов через предварительно просверленные отверстия в шиферных листах. Диаметр сверла должен быть на 1-2 мм больше диаметра гвоздя или шурупа. Пробивать отверстия гвоздями запрещается! Крепление осуществляют на гребне второй волны справа и слева продольных кромок листа на расстоянии 80-100 мм от нижней грани (на середине нахлестки).
-
В процессе монтажа и эксплуатации листы неокрашенные разрешено очищать любыми способами.
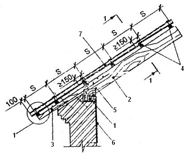
Рисунок 1 – Способы крепления
S <= 500 мм – для волнистых листов
S <= 700 мм – для волнистых асбестоцементных листов усиленного профиля
1 – мауэрлат, 2 – стропильная нога, 3 – кобылка, 4 – бруски решётки, 5 – скоба, 6 – проволочная скрутка, 7 – волнистые листы, 8 – противоветровая скоба, 9 – самонарезающий шуруп или гвоздь, 10 – металлическая шайба, 11 – резиновая прокладка, 12 – гвоздь.
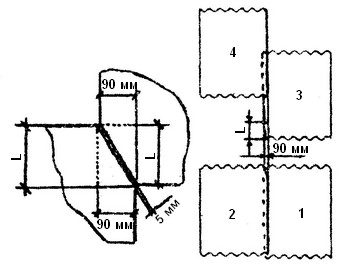
Рисунок 2 – Подрезка углов СВ
2.1 Схема обрезки углов перекрываемой и перекрывающей кромок

L – величина продольной нахлёстки листов
2.2 Подрезка углов

Рисунок 3 – Укладка листов СВ
3.1 Схема выполнения нахлёстов: в поперечном направлении

3.2 в продольном направлении

Рисунок 4 – Покрытие волнистыми листами крыши с уклоном 30°

а) - укладка волнистых листов по обрешетке из досок;
б) - покрытие конька;
в) - сечение фронтонного свеса;
г) - порядок обрезки углов в листах;
1 - верхняя обвязка; 2 - стропильная нога; 3 - коньковая доска; 4 - коньковый брусок; 5 - противоветровая скоба; 6 - гвоздь толевый 2,5x30 мм; 7 - уравнительная рейка сечением 6x50 мм; 8 - лист асбестоцементный волнистый ВО; 9 - крючок для стремянок; 10 - конёк КПО-1; 11 - конек КПО-2; 12-подставка для хранения запаса листов на крыше; 13 - замазка; 14 - шуруп оцинкованный 5x40 мм с полукруглой головкой; 15 - шайба из оцинкованной стали; 16 - шуруп оцинкованный 6x70 мм с полукруглой головкой; 17 - фронтонная доска.
|